Волоконно-оптические гироскопы
| Категория реферата: Рефераты по науке и технике
| Теги реферата: вулканы доклад, реферат на тему право
| Добавил(а) на сайт: Зина.
Предыдущая страница реферата | 1 2 3 4 5
Рис.13, а. Структурная схема волоконно-оптического гироскопа с изменением частоты
|
Рис.13, б.
|
На рис. 13, а представлена структура волоконно-оптического гироскопа с изменением частоты, разработанного западногерманской фирмой SEL, в нем два опорных генератора с частотой fL и fН, с помощью которых устанавливается разность фаз p, которая коммутируется с частотой fс. Все это позволяет увеличить чувствительность. В частности, в стационарном режиме частота f возбуждения AOM1 равна (fL +fН)/2, т. е. при коммутации между fН и fL выходной сигнал интерферометра не изменяется. В режиме c. установившейся частотой f составляющая fc на выходе интерферометра отсутствует, что может быть основой для обратной связи для генератора, управляемого напряжением. При вращении гироскопа частота f отклоняется от значения (fL +fН)/2 и в соответствии с установившейся разностью можно определить по формуле скорость этого вращения:
(11)
В данной системе эффективно снижаются шумы, поскольку частота fс определяется как величина, обратная периоду распространения световой волны по катушке с оптическим волокном, а частота света сигнала и света обратного рассеяния Рэлея обычно различается только как fН - fL. Динамический диапазон, как видно на рис. 13, б, простирается на шесть порядков, что является особенностью метода изменения частоты.
Если расстояние от модуляторов АОМ1 и АОМ2 до расщепителя луча неодинаково, возникает дрейф нуля. Из-за этого стабильность нулевой точки ухудшается до стабильности в системе с фазовой модуляцией. Тем не менее, эти изделия уже выпускаются (с дрейфом около 3°/ч). В них длина оптического волокна 1 км, радиус катушки 5 см. Угловое смещение на каждый отсчет частоты выходного сигнала составляет 2,95 с.
Метод изменения частоты структурно базируется на методе фазовой модуляции. Считается, что он позволяет повысить разрешающую способность и стабильность нулевой точки. При этом основные сложности связаны с частотным сдвигателем. Если в качестве его используется АОМ, то возникают две проблемы — увеличение габаритов оптической системы при росте мощности возбуждения и отраженного света, а также повышение частоты возбуждения. Наряду с АОМ исследуются частотные сдвигатели в виде волоконно-оптических фукциональных элементов и световых волноводов. Кроме того, интегрируются два AOM и объектив на подложке из LiNbО3. Проектируются также системы с частотным сдвигом, полученным на основе фазового метода.
На рис. 14 представлена общая структура фазовой системы, выполненной на базе интегральной схемы. Фазовый модулятор волноводного типа имеет хорошие частотные характеристики, поэтому возможно возбуждение пилообразным напряжением и реализация фазовой системы. При этом, если амплитуда пилообразного напряжения возбуждения строго соответствует 2p, то высшие гармоники не возникают, и получается идеальный частотный сдвигатель. Для инерциальной навигационной системы это условие должно выполняться очень строго. Французская фирма «Томсон ЦСФ» разработала автоматическую регулировку амплитуды с помощью цифроаналогового преобразователя, который обеспечивает требуемую пилообразную форму напряжения с фронтом из микроступеней. Частота его определяется как Df из формулы (11), и при синхронной с цифроаналоговым преобразователем обратной связи здесь обеспечивается нулевой метод, а изменение тактовой частоты информирует об угловой скорости гироскопа. В этой системе не требуется большого сдвига частоты и можно обойтись лишь одним частотным сдвигателем. Разработан подобный гироскоп с дрейфом нуля 0,3°/ч и динамическим диапазоном в 7 порядков.
Рис.14. Волоконно-оптический гироскоп с изменением частоты и сдвигатели фазового типа
на интегральной схеме
|
Система со световым гетеродинированием
Система на рис. 6 включает в себя катушку радиусом 15 см из оптического одномодового волокна длиной 2000 м, отдельные оптические приборы и одномодовый полупроводниковый лазер. В ней используется прямая частотная модуляция излучения полупроводникового лазера, что приводит к дополнительным шумам. Для снижения когерентности увеличивается ширина спектра излучения. На рис. 15 приведены характеристики шумов. Расширение спектра позволяет повысить разрешающую способность примерно в 20 раз. Поскольку из-за обратного света спектр полупроводникового лазера нестабилен, в систему вводится изолятор.
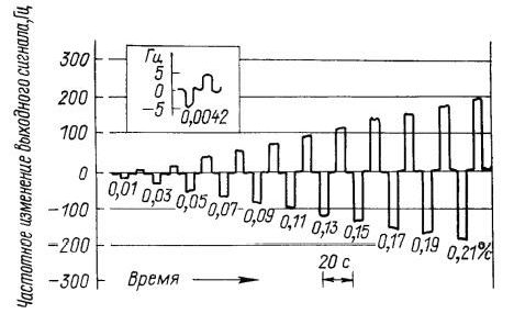
Рис.15, а. Обнаружение вращения волоконным гироскопом со световым гетеродинированием (рис.6, 7)
|
Рис.15, б. Обнаружение вращения волоконным гироскопом со световым гетеродинированием — характеристика
передачи (рис.6, 7)
|
На рис. 15, а поясняется работа данной системы. По вертикальной оси откладывается изменение частоты, которое пропорционально угловой скорости, причем один отсчет соответствуег угловому сдвигу 4" (при 10-кратном усилении 0,4" на 1 отсчет). Скорость вращения земного шара 0,0042°/с, кратковременная разрешающая способность 5°/ч. На рис. 15, б приведена характеристика передачи (вход—выход). Скорость 11°/ч соответствует фазовой разности 180°. Линейность характеристики улучшена благодаря применению нулевого метода. Верхняя граница обнаружения вращения, определяемая электронной схемой, составляет 100°/c, динамический диапазон экспериментальной системы 5 порядков.
Из-за тепловых колебаний скорости звука в АОМ системы возникает заметный дрейф нуля, в связи с чем продолжаются исследования способов отслеживания звуковой скорости в АОМ. Данную систему, используя двухмерные световые волноводы и дифракционные решетки, можно реализовать в виде интегральной схемы.
Заключение
Рассмотрен принцип действия некоторых оптических гироскопов, в том числе волоконно-оптических. Благодаря методу фазовой модуляции достигнута разрешающая способность и стабильность нулевой точки в соответствии с требованиями инерциальной навигации. С помощью метода изменения частоты и светового гетеродинирования реализован широкий динамический диапазон (от пяти до девяти порядков) и стабильный масштабный коэффициент. Волоконно-оптические гироскопы находят широкое применение. Быстрыми темпами ведется разработка различных приборов на микрооптической технологии, волоконно-оптических функциональных элементах, оптических волноводных элементах. К настоящему времени такие гироскопы среднего класса уже имеются в продаже.
Волоконно-оптические гироскопы отличаются от прежних отсутствием механических систем, что делает их пригодными не только в навигации, но и в других областях, например, для контроля движения бура при бурении нефтяных скважин. Кроме того, если увеличить диаметр кольца из оптического волокна, удлинить интервал интегрирования выходного сигнала, то можно повысить чувствительность, что позволит использовать гироскоп для прогноза погоды, измерения флюктуаций собственного вращения Земли и др.
Список литературы
1.Волноводы оптической связи, Теумин И.И.
2.Волоконно-оптические датчики, под ред. Т.Окоси, перевод с япон.
3.Оптические волноводы, Marcuse D., перевод с англ.
4.Основы волоконно-оптической связи, под ред. Е.М.Дианова, перевод с англ.
Скачали данный реферат: Исаков, Нутрихин, Игнатьев, Гик, Яницкий, Маликов.
Последние просмотренные рефераты на тему: конспект урока, дипломная работа по юриспруденции, диплом на заказ, образ жизни доклад.
Категории:
Предыдущая страница реферата | 1 2 3 4 5
Рис.13, а. Структурная схема волоконно-оптического гироскопа с изменением частоты
Рис.13, б.
Рис.14. Волоконно-оптический гироскоп с изменением частоты и сдвигатели фазового типа
на интегральной схеме
Рис.15, а. Обнаружение вращения волоконным гироскопом со световым гетеродинированием (рис.6, 7)
Рис.15, б. Обнаружение вращения волоконным гироскопом со световым гетеродинированием — характеристика
передачи (рис.6, 7)
Главная